经常处理各种合同的朋友是不是经常遇到这种情况,领导突然要一份汇总表,里面要包含所有合同的甲方乙方、金额、签约日期、有效期……你是不是也经历过这种崩溃时刻?一份一份打开、复制、粘贴,眼睛都看花了还没弄完一半。本文将分享一个更高效的解决思路,可以批量提取几百份word合同中的关键信息汇总到一张Excel表,清晰明了。
我们部门之前做过一次合同梳理,200多份采购合同要整理成台账,将合同中的一些关键信息全部汇总到一张表,就这一个工作安排了两个同事,整整干了一周。最后好不容易弄完了,还不放心有仔细核对了一遍。像这种重复性工作真的容易让人崩溃,这么多合同文档其实模板都差不多,只是具体的一些关键信息不一样而已,一个个手动复制提取真的太低效了。
今天给大家介绍一种简单的方法,可以快速提取几百份word合同中的关键信息。
批量提取大量Word合同处理前效果
在我们的文件夹中有多个word文件,这些文件的内容都是需要被提取汇总到excel中的,如下图:

这些word文档内容结构基本上都是类似的。

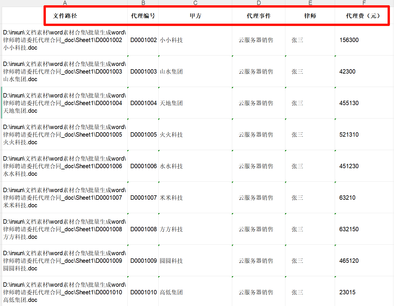
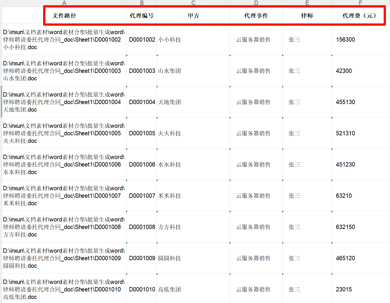
批量提取大量Word合同关键信息处理后效果
提取后,所有word文档的关键信息内容都汇总到了一个excel表格当中,每个word文档的内容对应一条数据。

视频教程
点击查看视频教程
批量提取Word合同关键信息操作步骤
1、打开「鹰迅批量处理工具箱」,左侧选择「Word工具」,右侧在数据提取分类中选择「提取 Word 中的内容到 Excel」的功能。
2、添加所有需要提取关键信息的所有Word文档。

3、设置提取的选项。

这里我们可以看到提取的方式有两种,分别是「
模板中提取:适用于提取整段内容或者从表格中提取整个单元格内容场景。 - 自定义规则提取:适用于提取指定位置的内容,比如指定的某两个字符串之间的内容。比如指定的某两个字符串之间的内容,
在进行设置之前,我们先打开一个word文档的内容,确认好我们需要提取的范围,假设我们需要提取的内容为上述处理前合同中的内容,这里提取的内容都位于指定的位置,因此我们选择用【自定义规则提取】。

提取的编号:这里提取的规则是 ( 到 )京融律代字第号 之间的内容;
提取的甲方姓名:这里提取的规则是 提取段落开始到 (以下简称甲方)因 之间的内容;
提取的代理事件:这里提取的规则是提取 因 到 纠纷一案 之间的内容;
以此类推...
然后我们勾选【自定义规则提取】,点击右上角的【新建规则】,根据提取内容所在的位置选择提取的规则类型。

全部设置好之后,可以看到下面的提取规则,然后选择下一步。

4、设置提取后的Excel文档保存目录。

5、批量提取多个Word合同内容处理完成。

整个过程自己操作过就会发现其实很简单,不用写代码、不用懂技术,直接批量导入Word文件,设置好要提取的字段,工具会自动识别并导出成Excel表格。对于经常要处理大量合同、订单、协议的部门来说,这种工具真的能省下大量时间和人力。