在日常办公中,我们经常需要从大量Word文档中提取关键信息,比如合同编号、客户姓名、金额日期等,然后整理成Excel表格进行统计分析。像这样的需求你都是怎样实现的呢?如果你还是采用传统手动处理的方法就太低效了,不仅费时费力,还容易出错。今天给大家分享一个word批量处理工具,可以快速解决工作中很多文档批量处理的问题,像这种批量提取word信息几分钟就搞定啦!
做过行政或人事工作的朋友应该深有体会:每到月底要汇总员工的请假单、报销单,几十上百份Word文档堆在文件夹里,需要把姓名、部门、日期、金额等信息一条条录入Excel。一份文档操作下来要两三分钟,全部弄完大半天就没了。
还有法务、财务审核合同,科研人员整理实验记录,老师批量处理学生提交的作业……类似的场景太多了。说白了,只要涉及"多个Word文档+提取固定信息+汇总成表格"这个组合,纯手工操作就是一场噩梦。
有没有什么工具能自动完成这些工作呢?下面就给大家介绍一款专门解决这类问题的批量提取工具和操作方法,很简单,完全不需要任何的学习成本,一看就会。
批量提取大量Word文档提取前效果
在我们的文件夹中有多个word文件,这些文件的内容都是需要被提取汇总到excel中的,如下图:

这些word文档内容结构基本上都是类似的。

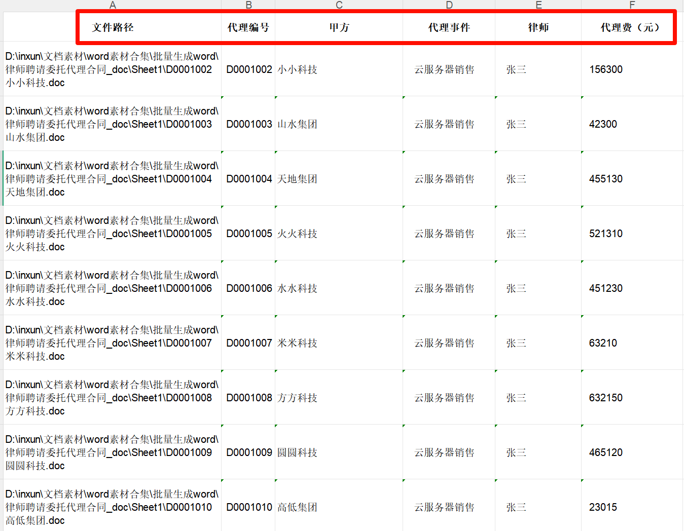
批量提取大量Word文档信息提取后效果
提取后,所有word文档的关键信息内容都汇总到了一个excel表格当中,每个word文档的内容对应一条数据。

视频教程
点击查看视频教程
批量提取大量Word文档信息操作步骤
1、打开「鹰迅批量处理工具箱」,左侧选择「Word工具」,右侧在数据提取分类中选择「提取 Word 中的内容到 Excel」的功能。
2、上传需要提取内容的所有Word文档。

3、设置提取的选项。

这里我们可以看到提取的方式有两种,分别是「
模板中提取:适用于提取整段内容或者从表格中提取整个单元格内容场景。 - 自定义规则提取:适用于提取指定位置的内容,比如指定的某两个字符串之间的内容。比如指定的某两个字符串之间的内容,
在进行设置之前,我们先打开一个word文档的内容,确认好我们需要提取的范围。

提取的编号:这里提取的规则是 ( 到 )京融律代字第号 之间的内容;
提取的甲方姓名:这里提取的规则是 提取段落开始到 (以下简称甲方)因 之间的内容;
提取的代理事件:这里提取的规则是提取 因 到 纠纷一案 之间的内容;
以此类推...这里提取的内容都位于指定的位置,因此我们选择用【自定义规则提取】。
然后我们勾选【自定义规则提取】,点击右上角的【新建规则】,根据提取内容所在的位置选择提取的规则类型。

全部设置好之后,可以看到下面的提取规则,然后选择下一步。

4、设置提取后的Excel文档保存目录。

5、批量提取大量Word文档信息处理完成。

实际体验下来,这款工具确实解决了批量处理Word文档的刚需。原本需要大半天才能完成的汇总工作,现在几分钟就能搞定。操作上也没什么门槛,不用学编程,不用写代码。最关键的是准确率有保障。机器按规则提取不会看串行,也不会因为疲劳而出错,后期核对的工作量也少了很多。对于经常要处理大量Word文档的朋友来说,这类工具确实值得一试。